行业动态

一种建筑施工用贴墙砖装置

来源:admin  浏览量:  发布时间:2024-04-08 09:53:34

本建筑施工用贴墙砖装置属于建筑施工设备技术领域。随着我国基本建设的发展,房地产业迅猛发展,基本所有商品楼房都需要在表面贴上墙砖。贴墙砖的时候工人必须站在高处,增加工作的危险性,浪费了大量人工的同时,也加长了工期,加之目前我国劳动力转型,从事体力劳动的人群数量急剧减少和劳动力老龄化,进一步增加工作的危险性的问题。本装置通过设置粘贴装置,粘贴装置将墙砖固定,从而代替人力,降低建筑施工中贴墙砖的危险性。

一、技术方案

一种建筑施工用贴墙砖装置,包括第一壳体、固定装置、第二壳体和粘贴装置;第一壳体的上端与进料筒连通,壳体内设置有固定装置,侧面与第二壳体固定连接,第二壳体内设置有粘贴装置,壳体侧面设置有瓷砖放置底座,第一壳体和第二壳体的下端均设置有自锁万向轮;固定装置包括搅拌装置和上料装置。

上料装置包括上料管、丝杠螺母和传动丝杠;第一壳体内设置有上料管,上料管上设置有两组上料泵,上料管与移动块卡紧,上料管的活动端加工有螺纹,上料管与安装壳体通过螺纹连通,安装壳体的三面设置有粘扣,上料管连通一侧的粘扣加工有若干组上料孔,海绵与粘扣粘紧固定,移动块内套接有丝杠螺母,丝杠螺母与传动丝杠螺纹连接,传动丝杠的下端与升降电动推杆固定连接,升降电动推杆的侧面与调节电动推杆固定连接,传动丝杠的上端与传动电机通过联轴器连接。

搅拌装置包括搅拌电机、搅拌轴和搅拌齿;第一壳体的底端与电机壳体固定连接,电机壳体的下端与电机底座固定连接,电机底座内设置有搅拌电机,电机与第一斜齿轮键连接,第一斜齿轮与第二斜齿轮啮合,第二斜齿轮与搅拌轴固定连接,搅拌轴上设置有若干组搅拌齿。

粘贴装置包括传动轴、连接臂和安装探头;第二壳体侧面与电机壳体固定连接,电机壳体内设置有电机底座,电机底座内设置有粘贴电机,粘贴电机与传动轴通过联轴器连接,传动轴上与连接臂的一端固定连接,连接臂的上端与安装探头固定连接,安装探头内设置有定砖装置,传动轴与第一辅助连接臂铰接,第一辅助连接臂与第二辅助连接臂的一端铰接,第二辅助连接臂的另一端与安装探头铰接。

定砖装置包括定砖电动伸缩杆、活塞和吸盘;安装探头内设置有若干组定砖电动伸缩杆,每组定砖电动伸缩杆的端部与活塞固定连接,活塞外套接有定砖筒,定砖筒穿过安装探头与吸盘连通,定砖筒与定砖电动伸缩杆通过连接杆连接。

二、有益效果

(1)本装置通过设置粘贴装置;粘贴装置中的粘贴电机的主轴通过传动轴带动连接臂进一步带动安装探头顺时针转动,转动至定砖装置的正下方为墙砖,定砖装置将墙砖与之固定,粘贴电机的主轴再带动传动轴反向旋转,传动轴通过连接臂从而驱动安装探头的逆时针转动至连接臂与地面呈90°,通过定砖装置将墙砖压入水泥中,将墙砖固定,粘贴装置代替人力,且无需休息就能够将墙砖粘贴,降低劳动力,无需人员登高,降低危险。

(2)本装置通过设置上料装置,上料装置中的上料泵将壳体内的水泥运输至上料管中,再通过海绵将水泥涂抹在墙上,传动电机带动传动丝杠的转动,传动丝杠进一步带动丝杠螺母在传动丝杠上做直线运动,丝杠螺母外套接的移动块与上料管卡接使上料管随之运动,使海绵将同一径向的墙面涂抹完全,采用上料装置对墙体进行涂抹,代替人工涂抹方式,节约人力的同时,减少对人体带来的伤害。

(3)本装置通过设置搅拌装置,将水泥和水按照配比通过进料筒进入至壳体中,搅拌电机的主轴与第一斜齿轮键连接带动第一斜齿轮转动,第一斜齿轮与第二斜齿轮的啮合使第二斜齿轮随之转动,同时带动搅拌轴的转动,搅拌齿在搅拌轴的转动下将水泥粉和水充分搅拌,防止搅拌不均匀使墙砖部分粘贴不牢固,一段时间后,会出现墙砖掉落的情况,同时代替人工搅拌水泥,节省劳动力,还能够防止人工搅拌时,水泥粉尘对人体肺部造成伤害。

三、附图说明

装置附图,图1~图5所示。

图片

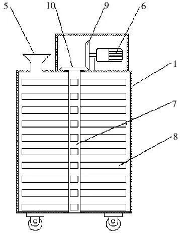
图1  整体结构示意

图片

图2  搅拌装置的剖视图

图片

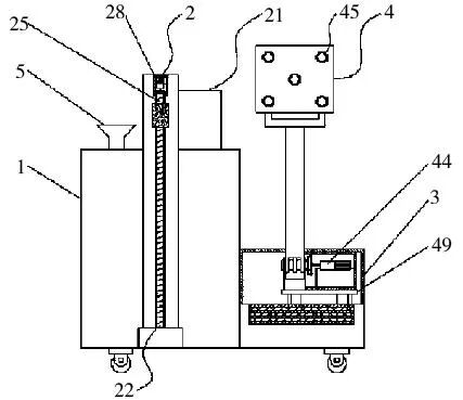
图3  上料装置的侧视图

图片

图4  定砖装置的局部剖视图

图片

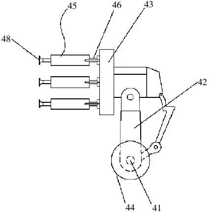
图5  粘贴装置的侧视图

1-第一壳体;2-固定装置;3-第二壳体;4-粘贴装置;5-进料筒;6-搅拌电机;7-搅拌轴;8-搅拌齿;9-第一斜齿轮;10-第二斜齿轮;21-搅拌装置;22-上料装置;23-上料管;24-丝杠螺母;25-传动丝杠;26-移动块;27-升降电动推杆;28-传动电机;41-传动轴;42-连接臂;43-安装探头;44-粘贴电机;45-定砖装置;46-定砖电动伸缩杆;47-活塞;48-吸盘。

四、实施方式

结合图1~图5所示,本装置是一种建筑施工用贴墙砖装置,包括第一壳体1、固定装置2、第二壳体3和粘贴装置4;第一壳体1的上端与进料筒5连通,内设置有固定装置2,侧面与第二壳体3固定连接,第二壳体3内设置有粘贴装置4,侧面设置有瓷砖放置底座,第一壳体1和第二壳体3的下端均设置有自锁万向轮;自锁万向轮将本实用新型移动至所需位置,第一壳体1在前,第二壳体3在后,水泥原料与水通过进料筒5进入到第一壳体1内,通过固定装置2将水泥原料和水进行搅拌并将水泥涂在墙上,固定装置2能够将不平整的墙涂抹均匀,使水泥涂抹更加平整,保证墙砖与水泥完全接触,墙砖贴得更加牢固,通过粘贴装置4 将墙砖牢固地粘贴在墙上。

本装置的工作过程为:首先,自锁万向轮将本实用新型移动至所需位置,第一壳体1在前,第二壳体3在后,水泥原料与水通过进料筒5进入到第一壳体1内,搅拌电机6的主轴开始旋转,搅拌电机6的主轴带动第一斜齿轮9开始转动,第一斜齿轮9与第二斜齿轮10啮合带动第二斜齿轮10的转动,第二斜齿轮10带动搅拌轴7进一步使搅拌齿8转动,将水泥与水均匀混合,混合均匀后,调整第一壳体1和第二壳体3与墙面之间的距离,通过调整调节电动推杆调节上料装置与墙壁之间的距离以及所需涂抹水泥的厚度,传动电机28的主轴带动传动丝杠25转动,丝杠螺母24在传动丝杠25上做直线往返运动,丝杠螺母24带动移动块26进一步带动海绵做径向往返运动,将水泥均匀涂抹在墙上,一段时间后,第一壳体1通过自锁万向轮向前运动,进一步涂抹水泥,第一壳体1前进带动第二壳体3至已涂完水泥的位置处,粘贴电机44的主轴带动传动轴41的转动,传动轴41带动连接臂42和安装探头43逆时针转动,此时,定砖电动伸缩杆46带动活塞47收缩,活塞47运动使定砖筒内压强减小,在大气压的作用下,使墙砖与吸盘48稳定连接,粘贴电机44反转,带动连接臂42和安装探头43顺时针转动至连接臂42与地面呈90度,将墙砖压入至墙上的水泥中,粘贴电机壳体的下端与辅助电动伸缩杆49固定连接,辅助电动伸缩杆49每升降一次均为墙砖的高度,当上一次墙砖压入水泥中时,辅助电动伸缩杆上升或者下降,保证每组墙砖均处于同一个平面内。

本装置所提到的连接分为固定连接和拆卸连接,固定连接(即为不可拆卸连接)包括但不限于折边连接、铆钉连接、粘结连接和焊接连接等常规固定连接方式,可拆卸连接包括但不限于螺纹连接、卡扣连接、销钉连接和铰链连接等常规拆卸方式,未明确限定具体连接方式时,默认为总能在现有连接方式中找到至少一种连接方式能够实现该功能,本领域技术人员可根据需要自行选择。本装置的控制方式是通过控制器来自动控制,控制器的控制电路通过本领域的技术人员简单编程即可实现,属于本领域的公知常识,并且本装置主要用来保护机械装置,所以本装置不再详细解释控制方式和电路连接。


摘自《建筑工人2023年10月,白鹤,高一松,谈强,赵辉